
Yamaha Filed Patent Application For Electric Turbocharger On CP3 Engines, Production Version Expected Soon
Yamaha has filed a patent regarding an electric turbocharger for a motorcycle engine. They plan to use the E-Turbo with the CP3 engines. This technology can deliver a significant power output surpassing that of the outgoing YZF-R9 and MT-09.
Yamaha’s patent application comes after the Japanese rival Honda decided to fit an electric compressor for the brand’s V3 engine. Electric turbocharger technology helps reduce turbo lag, similar to supercars. These turbos work by spinning the turbo vanes faster as compared to relying on exhaust gases in the case of normal turbochargers.
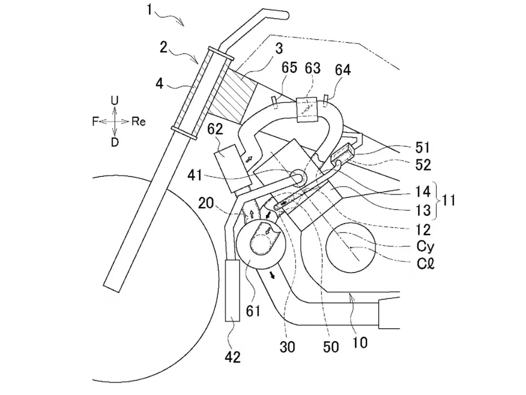
The patent images reveal a simple design for the turbochargers rather than a complicated hybrid system. It seems that E-Turbo is connected to a generator, drawing power from the generator. The generator links to a high-voltage system, as observed in other E-Turbo-powered cars.
Notably, limited information about the E-Turbo exists in a patent image. However, Yamaha has experimented with an electric turbocharger before. The Japanese brand will release a production version of the turbocharger soon.





