2-Wheeler Seat Belt System
As the illustration shows, it would be more suitable for scooters, really

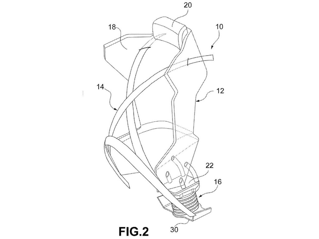
Italdesign has come up with a patent for a 2-wheeler seat belt system that could potentially protect riders of motorcycles and scooters in the event of a collision.

The firm calls it a motorcycle occupant protection system, but claims it has been designed for use in 2, 3 and 4-wheeled saddle-type vehicles.

It comprises a rigid non-deformable shell covered with a soft material (which Italdesign says would also prove cushioning to the occupant from impacts) and 4-point safety belts with central fastening device and pretensioner.

Mounted on a ball joint, the rigid backrest has been designed to allow freedom of movement for the 2-wheeler rider as well.

But, importantly, it comes with a quick release mechanism that is operated by an electronic control module, which, with help from several sensors, will determine whether to release the backrest or lock it in place based on the circumstance.

The idea is, in the event of a head-on collision with a car, the backrest will not be released, as it would be safer for the rider to be on the 2-wheeler.

But, there are cases where it would be safer for the rider to let go of the 2-wheeler in order for them to be alive and during such times, the module will release the backrest.

If the 2-wheeler seat belt system makes it to production stage, some modification would be needed to be made on motorcycles and scooters to fit it and with the system in place, room for a passenger on a 2-wheeler would practically become nil.

Backrest
The shell will be lined with a soft material for comfort and cushioning during impact
2-Wheeler Seat Belt System Working
The rider will have some room for movement
Italdesign 2-Wheeler Seat Belt System
More focus on safety is never a bad thing