Kawasaki Predictive Electronics Patent Revealed
Kawasaki plans to add camera sensors, laser sensors and load sensors to help the motorcycle predict your next move.
Kawasaki plans to add camera sensors, laser sensors and load sensors to help the motorcycle predict your next move.

It’s a known fact that motorcycle electronics are getting smarter each day. Manufacturers file new patents every day and they do it with the same goal in mind – to make bikes safer to ride. Recently, one such patent was filed by Kawasaki, which reveals predictive electronics. These electronics will help future Kawasaki motorcycles predict what will happen and take preventive measures.
Although motorcycle electronics have aged very well and riders have become used to assistance systems which they can tweak to create infinite setup options, the electronics still cannot predict a rider’s reaction. These assistance systems act like band-aids for rider errors rather than preventatives which avoid those errors.
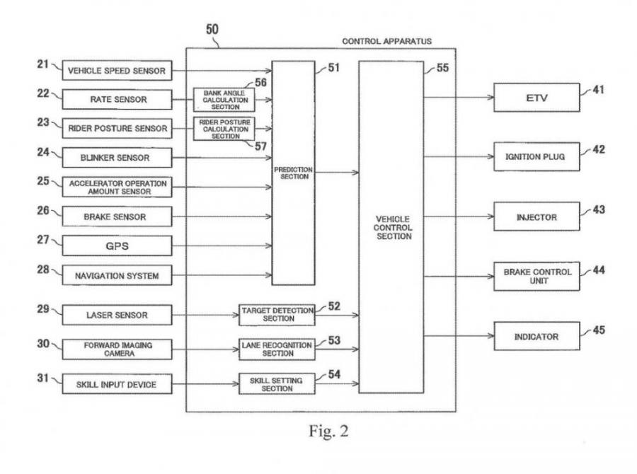
This is where Kawasaki’s patent comes in play. The Japanese giant claims that their Preventive Electronics give them a level of foresight and the ability to react to problems. The main new elements that make this possible are a camera, a laser sensor, a built-in satellite-navigation system, and many load sensors in the seat and footpegs.
These sensors work with the existing sensors to monitor throttle application, braking force, lean angle and speed. They feed this information to the onboard computer, which interprets the information and adjusts the bike accordingly. This helps optimize both safety and performance.
The front section of the motorcycle accommodates the camera and laser sensors. The camera uses image recognition to detect road markings which let it recognise curves as they approach while the laser sensor measures the distance to vehicles ahead. With maps built into the sat-nav, the computer can then work out where corners are and their type before you’ve even started to brake for them.
Kawasaki’s patent also mentions a “rider posture sensor”. This is a collective term for the load sensors in the seat and the footpegs. These sensors basically monitor how the rider moves on the motorcycle, which can indicate that a maneuvre is about to happen. In addition, a “blinker sensor,” which provides information about whether you’re indicating, and in which direction, to the computer, is also present.
All this data from the sensors is used to create data for the prediction section, which decides what it thinks you will do next. It then sends this decision to the onboard computer which ultimately sends the commands to individual parts of the bike including the throttle valves, ABS, injection system, etc.
This system sounds revolutionary and will take us a step closer to motorcycles that can predict rider inputs and prevent mishaps. However, it is not likely that you will feel it working as the result of this system will be a bike that’s almost always in the right mode, with all systems so subtle you’ll barely notice when they operate.


