Kawasaki Supercharged Two-Stroke Engine Under Development
By using top notch technologies at one go, the manufacturer might make combustion engines live longer.

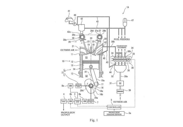
A new patent application from Kawasaki has revealed that the firm is working on a supercharged two-stroke four-cylinder direct-injection engine.
Submitted by the manufacturer to the Japan Patent Office (JPO), the design incorporates almost all of the known technologies to man to date, to create an efficient engine that would be used in a series hybrid vehicle.
Contrary to popular belief two-stroke motors can be surprisingly clean, if they are constantly run in their most efficient cycle. By fitting it in a series hybrid vehicle, where the engine would charge the batteries and not power the rear wheels (the opposite to parallel hybrids), Kawasaki aims to make the internal combustion engine live longer than expected.
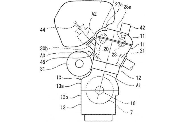
The Kawasaki two-stroke engine, however, is not a conventional unit of its make. It uses poppet valves and double overhead camshafts instead of ports. With a 360 degree firing order, the engine would see inlet and exhaust valves open and close at the same time.
Using a supercharger would mean intake air pressure would be higher, which would evacuate spent gases quicker and direct injection of fuel would mean no unburnt fuel can escape into the exhaust by timing the fuel to be added after the valves are closed.
This technology takes cues from big supercharged two-stroke diesels used on several ships that are notoriously known for being some of the most efficient engines on the planet.
Reports suggest the Kawasaki supercharged two-stroke motor could be 50 percent efficient, with some suggesting it could be even more cleaner than it is led to be believed.



