Volvo Files Patent For Slideable Steering Wheel
The technology, if put into production, would bring automotive fiction to reality.

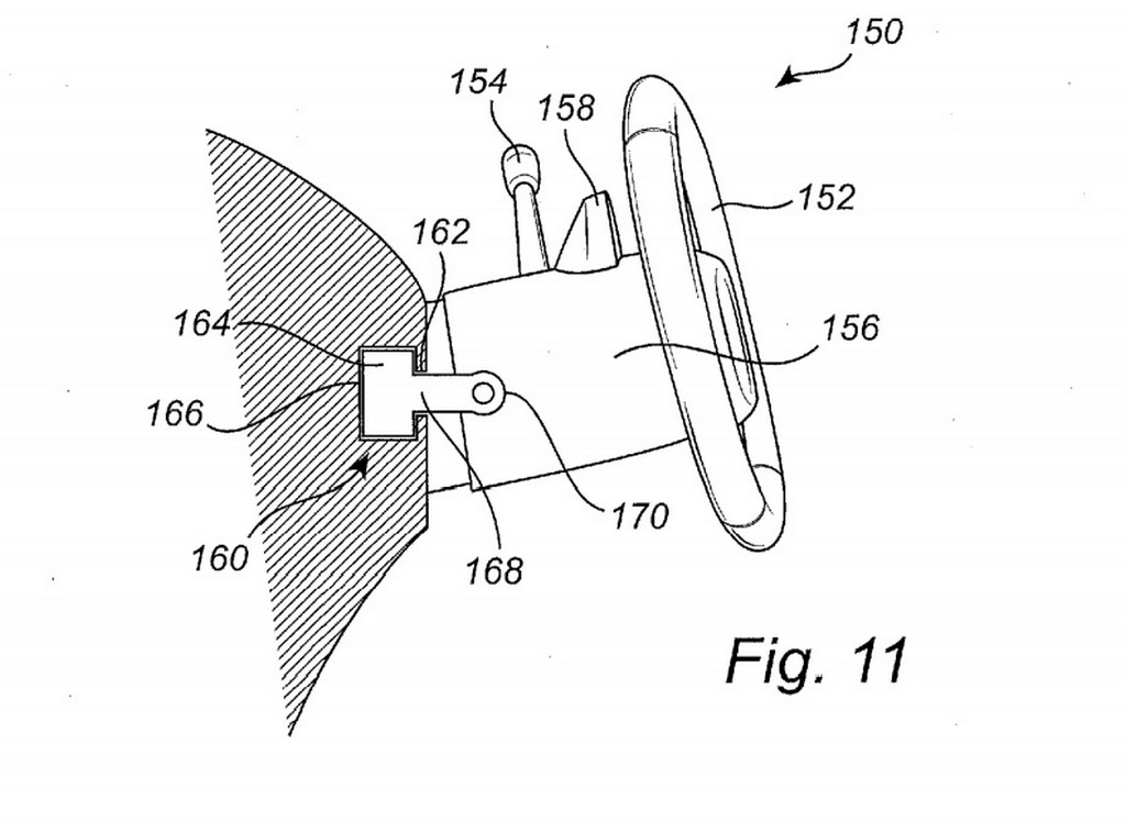
Volvo has patented a new slideable steering wheel system that, along with the instrument cluster, could move from one side to the other in a vehicle.
Filed with the United States Patent and Trademark Office during early 2019, the patent was only published in late September.
With its new system, Volvo has essentially brought automotive fiction into reality, well, almost. But it does seem possible that cars, at least ones with a higher degree of autonomous driving capability, from the Swedish carmaker could have the technology in the future.
However, we might not have to wait that long to see it put to use. There are cars today that use throttle-by-wire and brake-by-wire systems. By including steering-by-wire tech as well, any physical linkage would be deemed unnecessary.
So, the steering wheel and the instrument cluster could be moved from one side of the car to the other or even left in the middle, like in a McLaren F1 and Speedtail or the upcoming Gordon Murray Automotive T.50 supercar.
But the middle position might only be for situations where the car has complete control of the driving and seems a logical solution than having the steering wheel completely folded away like some concept cars have proposed.
As for the pedals, cars with Volvo slideable steering wheel system are expected to have controls on both front passenger footwells. But, the future could bring in surprising developments like pressure-sensitive pads in place of physical pedals.
One additional benefit with the slideable steering wheel system is that Volvo would not have to worry about engineering vehicles to suit right- and left-hand-drive markets and thus save a truckload of money as a result of that.



Source – Carscoops.com
